UPP 系列

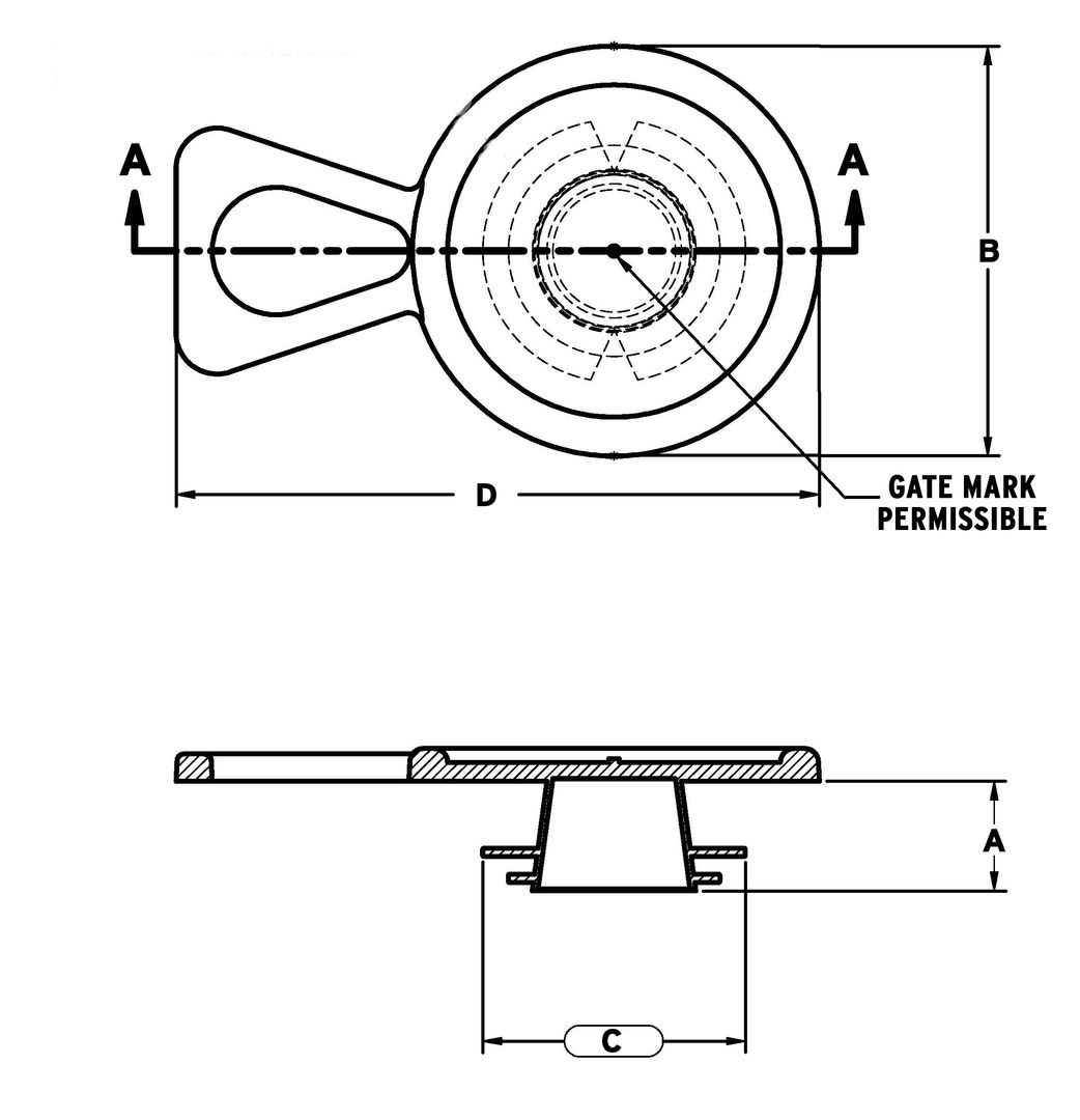
带拉环万能塞

UPP系列塞子用于保护螺纹口在生产或运输过程中不受到灰尘、碎片和其它污染物的损害。

  • 尺寸可以用于UN、BSP和公制在内的25个不同螺纹规格

  • 设计带有弹性材料制成的拉环,可以在没有手动工具的情况下也能快速安装和取下

  • 用于汽车或液压设备

材料:低密聚乙烯
使用温度: -70 - 79° C ( -94 - 175° F)
标准颜色:红色

如需产品报价和交货期,敬请拨打电话400-828-9096联系我们的销售团队。

所有的目录产品均可提供免费样品供您试用。

采购选项

使用产品尺寸进行过滤
输入最小和最大测量值以过滤列表。
最小 (${filter.dimType=='inch'?'In':'MM'})
最大 (${filter.dimType=='inch'?'In':'MM'})
${total} 零件尺寸
${item.name}: ${item.list}
清除
Item # ${item.name}
${item.name} ${item[getFieldName(itemA)]}
没有数据.
请在订购前利用我们的免费样品在您的特定应用/环境中测试零件。