CXT 系列

十字拉舌锥形塞

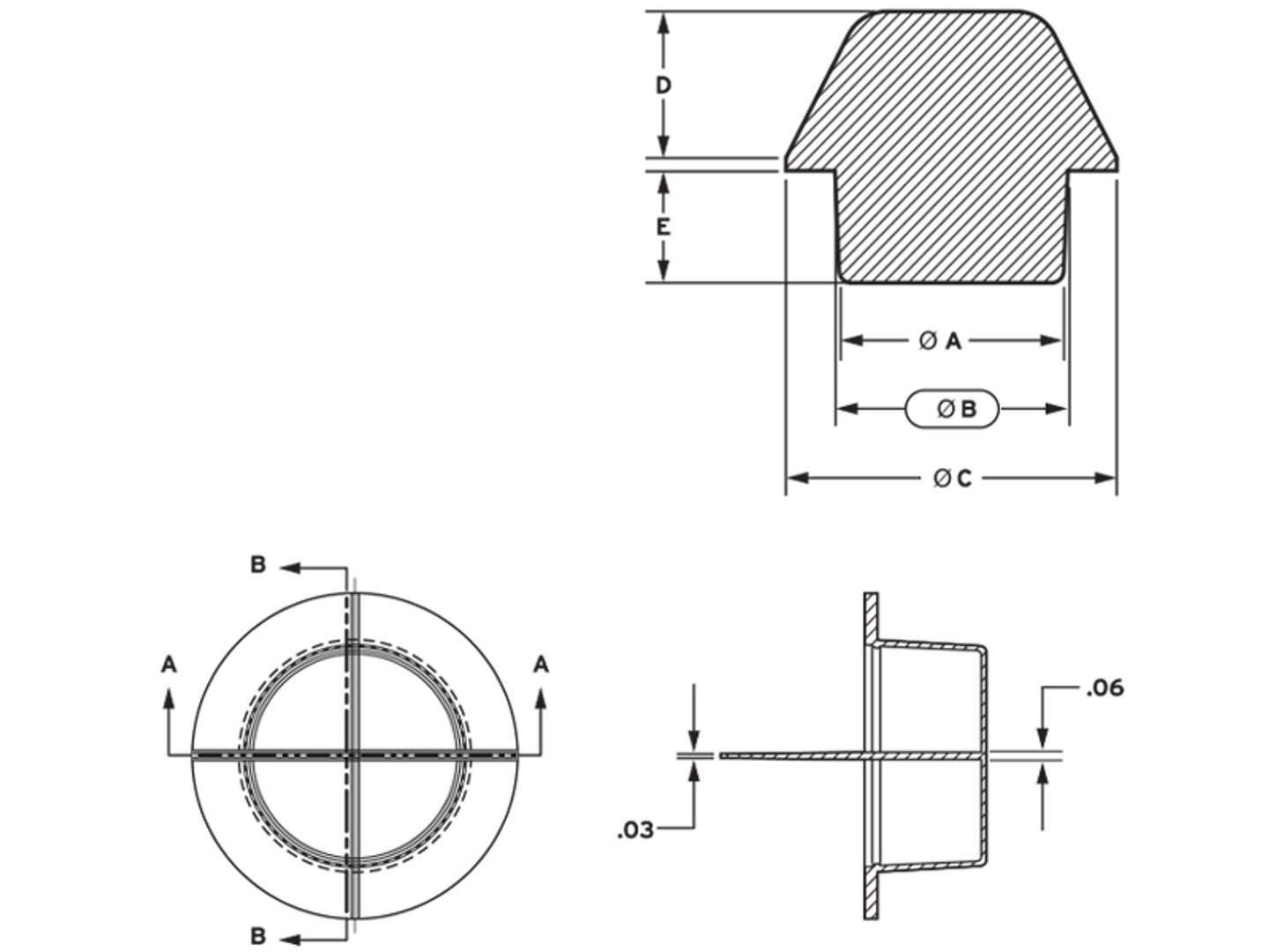
CXT系列锥形塞和标准的锥形塞尺寸及结构一样,只是在中间多了一个十字拉舌设计方便安装及移除。

  • 拉舌再保护塞上侧,容易抓取

  • 塞子由于是注塑一体成形的,所以十字拉舌设计不会在后期的装配过程中脱落

  • 十字拉舌和宽法兰边,可以防止保护塞遗留在产品上

材料:低密聚乙烯

使用温度: -70 - 79° C ( -94 - 175° F)

颜色:橙色

如需产品报价和交货期,敬请拨打电话400-828-9096联系我们的销售团队。

所有的目录产品均可提供免费样品供您试用。

采购选项

使用产品尺寸进行过滤
输入最小和最大测量值以过滤列表。
最小 (${filter.dimType=='inch'?'In':'MM'})
最大 (${filter.dimType=='inch'?'In':'MM'})
${total} 零件尺寸
${item.name}: ${item.list}
清除
Item # ${item.name}
${item.name} ${item[getFieldName(itemA)]}
没有数据.
请在订购前利用我们的免费样品在您的特定应用/环境中测试零件。