UTM-SH 系列

Ultrabake™螺纹保护帽

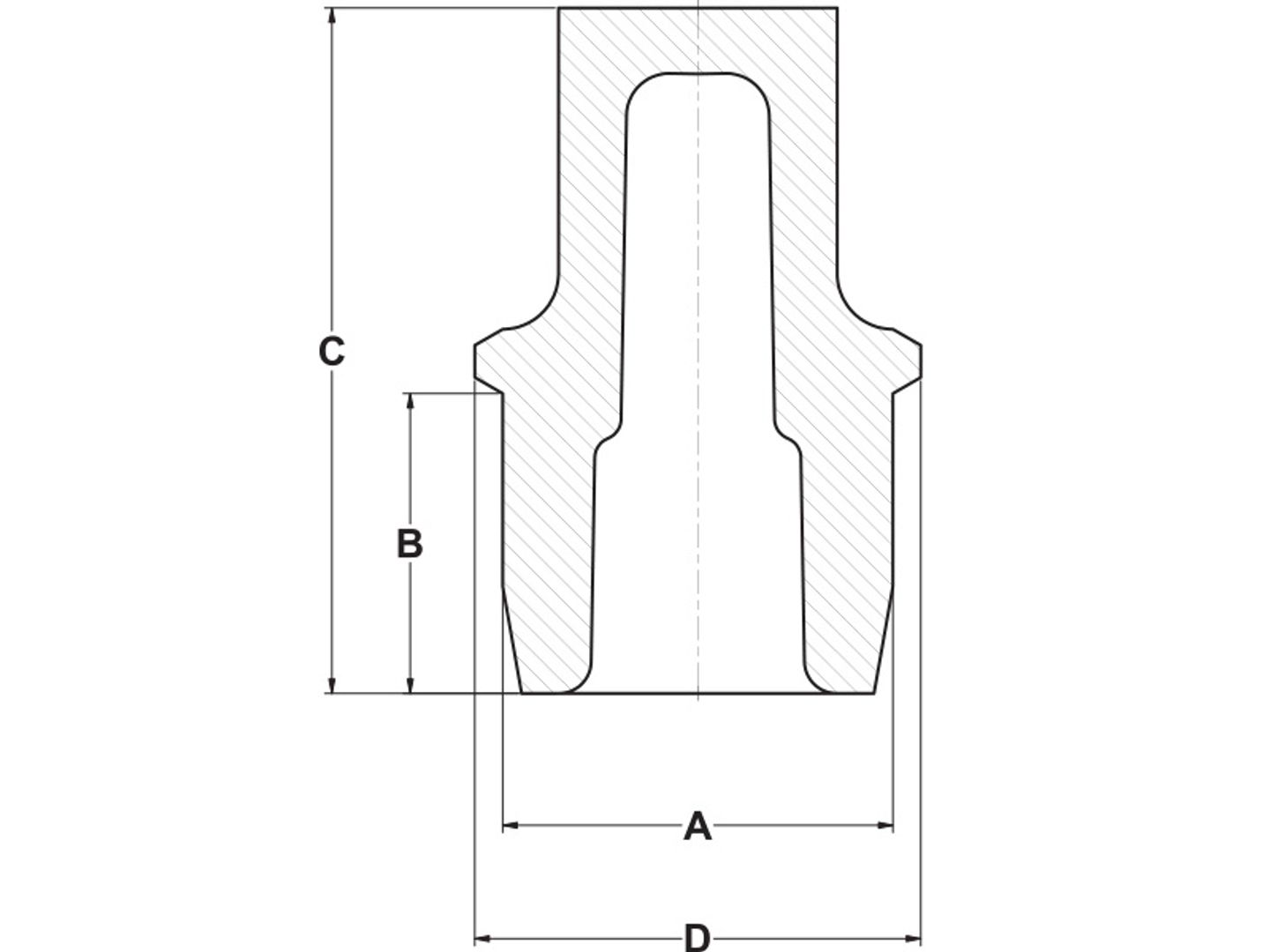
UTM-SH系列Ultrabake™螺纹保护帽设计用于遮蔽螺纹孔及第一圈螺纹。

  • 建议用于粉末喷涂、电镀、电泳封装等工艺

  • 耐高温可达315°C

  • 提供标准的浅款堵头用于堵盲孔,也有长款的用于密封领域

  • 可循环使用

材料:硅胶

标准颜色:颜色根据尺寸

可选颜色:透明/白色

如需产品报价和交货期,敬请拨打电话400-828-9096联系我们的销售团队。

所有的目录产品均可提供免费样品供您试用。

采购选项

使用产品尺寸进行过滤
输入最小和最大测量值以过滤列表。
最小 (${filter.dimType=='inch'?'In':'MM'})
最大 (${filter.dimType=='inch'?'In':'MM'})
${total} 零件尺寸
${item.name}: ${item.list}
清除
Item # ${item.name}
${item.name} ${item[getFieldName(itemA)]}
没有数据.
请在订购前利用我们的免费样品在您的特定应用/环境中测试零件。