UMFP-SH 系列

多法兰塞

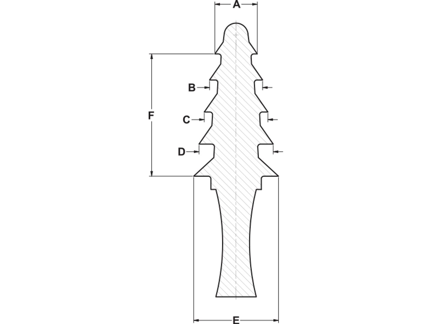
Ultrabake™硅胶多层凸缘堵头设计用于保护平孔或螺纹孔。

  • 建议用于粉末喷涂、电镀等工艺

  • 最高温度可达315°

  • 可以在涂装过程中有效的堵住孔

  • 堵头上的飞边设计带有弹性,所以可以适用于多尺寸的孔

  • 凸起的把手位可以使堵头易见并移除简捷

  • 循环使用

材料:硅胶

标准颜色:颜色根据尺寸

可选颜色:白色/透明

如需产品报价和交货期,敬请拨打电话400-828-9096联系我们的销售团队。

所有的目录产品均可提供免费样品供您试用。

采购选项

使用产品尺寸进行过滤
输入最小和最大测量值以过滤列表。
最小 (${filter.dimType=='inch'?'In':'MM'})
最大 (${filter.dimType=='inch'?'In':'MM'})
${total} 零件尺寸
${item.name}: ${item.list}
清除
Item # ${item.name}
${item.name} ${item[getFieldName(itemA)]}
没有数据.
请在订购前利用我们的免费样品在您的特定应用/环境中测试零件。