PD 系列

渐开式JIC管件用塑料螺纹堵头

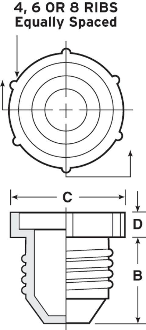
PD系列堵头设计用于JIC渐开式管件,带有便于安装的凸边,适用于低压要求的应用,使用手指轻轻旋紧即可。PD系列堵头可用于37°不带垫圈的渐开式管件。

  • 渐开式管件应用

  • 带有便于安装的凸边

材料:高密聚乙烯/低密聚乙烯
使用温度: LDPE: -70 - 79° C ( -94 - 175° F) | HDPE: -18 - 102° C (0 - 215° F )
标准颜色:红色

如需产品报价和交货期,敬请拨打电话400-828-9096联系我们的销售团队。

所有的目录产品均可提供免费样品供您试用。

采购选项

使用产品尺寸进行过滤
输入最小和最大测量值以过滤列表。
最小 (${filter.dimType=='inch'?'In':'MM'})
最大 (${filter.dimType=='inch'?'In':'MM'})
${total} 零件尺寸
${item.name}: ${item.list}
清除
Item # ${item.name}
${item.name} ${item[getFieldName(itemA)]}
没有数据.
请在订购前利用我们的免费样品在您的特定应用/环境中测试零件。