ETV 系列

带外螺纹弹性堵头

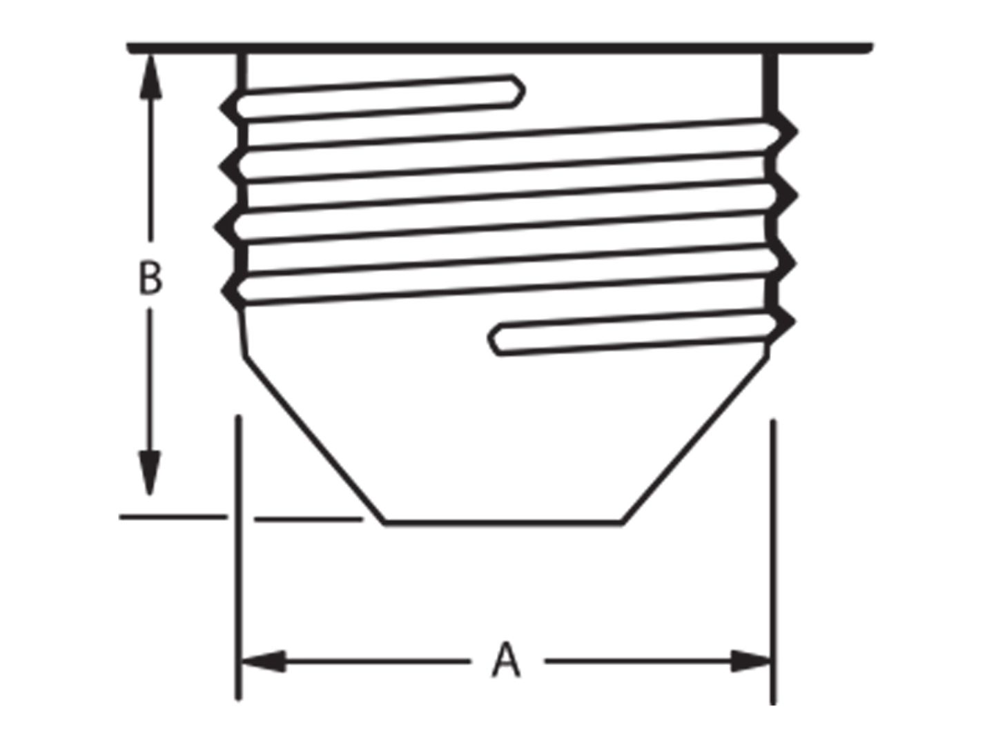
ETV系列外螺纹保护塞采用注塑工艺一体成型,侧重拉舌便于安装和移除。

  • 外部螺纹将堵头固定在适当的位置

  • 侧拉舌设计方便移除

材料:乙烯基(ETV-12-R和ETV-16-R为EPDM)

使用温度:-32 - 176° C (-26 - 350° F )
标准颜色:黑色

如需产品报价和交货期,敬请拨打电话400-828-9096联系我们的销售团队。

所有的目录产品均可提供免费样品供您试用。

采购选项

使用产品尺寸进行过滤
输入最小和最大测量值以过滤列表。
最小 (${filter.dimType=='inch'?'In':'MM'})
最大 (${filter.dimType=='inch'?'In':'MM'})
${total} 零件尺寸
${item.name}: ${item.list}
清除
Item # ${item.name}
${item.name} ${item[getFieldName(itemA)]}
没有数据.
请在订购前利用我们的免费样品在您的特定应用/环境中测试零件。