CPT-NF 系列

带中央拉舌无边锥形塞

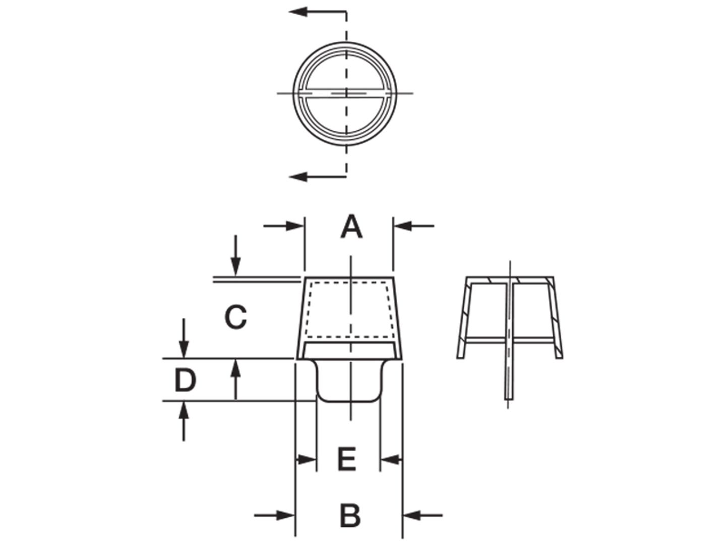
CPT-NF系列锥形塞是专为狭小空间、两个或多个孔需要使用塞子且靠在一起因空间小而无法使用有法兰边的塞子而特意设计的。

  • 根据标准锥形塞设计

  • 无法兰边

  • 拉舌设计方便安装和移除

材料:低密聚乙烯

使用温度: -70 - 79° C ( -94 - 175° F)
标准颜色:橙色

如需产品报价和交货期,敬请拨打电话400-828-9096联系我们的销售团队。

所有的目录产品均可提供免费样品供您试用。

采购选项

使用产品尺寸进行过滤
输入最小和最大测量值以过滤列表。
最小 (${filter.dimType=='inch'?'In':'MM'})
最大 (${filter.dimType=='inch'?'In':'MM'})
${total} 零件尺寸
${item.name}: ${item.list}
清除
Item # ${item.name}
${item.name} ${item[getFieldName(itemA)]}
没有数据.
请在订购前利用我们的免费样品在您的特定应用/环境中测试零件。