FBH 系列

FAN系列用孔堵头

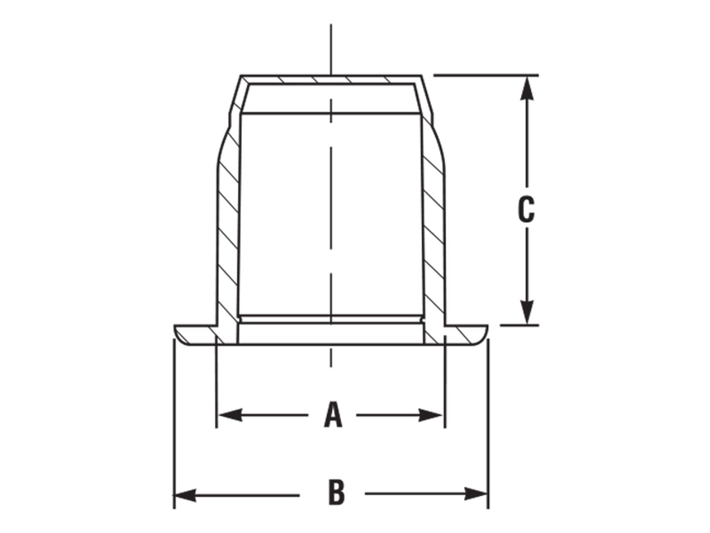
FAN系列用孔堵设计用于将FAN系列产品与法兰固定,其外部的横肋设计可以配合不同的孔径,以保证准确地固定位,凸缘设计方便产品移除。

  • FAN尺寸表供参考

  • 耐用的高密聚乙烯

  • 适用于不同尺寸的螺栓孔

材料:高密聚乙烯
使用温度:-18 - 102° C (0 - 215° F )
标准颜色:黑色

如需产品报价和交货期,敬请拨打电话400-828-9096联系我们的销售团队。

所有的目录产品均可提供免费样品供您试用。

采购选项

使用产品尺寸进行过滤
输入最小和最大测量值以过滤列表。
最小 (${filter.dimType=='inch'?'In':'MM'})
最大 (${filter.dimType=='inch'?'In':'MM'})
${total} 零件尺寸
${item.name}: ${item.list}
清除
Item # ${item.name}
${item.name} ${item[getFieldName(itemA)]}
没有数据.
请在订购前利用我们的免费样品在您的特定应用/环境中测试零件。